Van 1 chiều lá lật thường được áp dụng trong các ngành công nghiệp cấp nước, thoát nước… Van 1 chiều lá lật có cấu tạo với phần lá lật qua lật lại khi có sự tác động của nước và chỉ cho phép chảy qua theo một chiều nhất định. Mời Quý khác hàng tham khảo thông tin chi tiết sản phẩm dưới bàu viết sau.

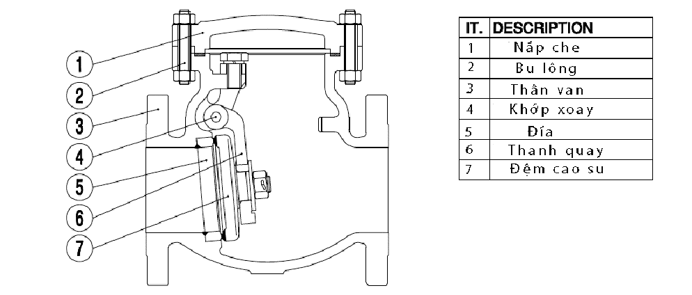
Cấu tạo của van 1 chiều lá lật

Được cấu tạo bởi hai thành phần chính là than van và lá van:
- Thân van: Được đúc từ gang cầu FCD450 và hai mặt được phủ bằng lớp sơn epoxy cao cấp
- Lá van: Dạng đĩa tròn được sản xuất từ gang cầu và được bọc 100% bằng cao su EPDM phù hợp với cả môi trường nước sạch và nước thải
Ưu điểm của van 1 chiều lá lật
- Vận hành tự động dựa vào lực chảy của dòng nước, đóng mở nhanh do lá van được thiết kế nghiêng 450
- Van có độ bền cao, chống gỉ sét
- Việc thay thế khi cần thiết đơn giản
- Van được thiết kế rất nhiều kích cỡ phù hợp với từng đường ống lớn nhỏ khác nhau
- Sử dụng được trong nhiều môi trường khác nhau
Tham khảo thêm:
Thông số kỹ thuật chung của van 1 chiều lá lật
- Vật liệu: Gang, nhựa, đồng, inox
- Kiểu lắp: Mặt bích, ren, rắc co
- Nhiệt độ: 0 ~ 200 độ C tùy vào vật liệu
- Tiêu chuẩn mặt bích: DIN, JIS, ANSI, PN16
- Áp lực: PN10, PN16, PN25
- Kích thước: DN40 - DN50 - DN65 - DN80 - DN100 - DN125 - DN150 - DN200 - DN300 - DN400
Van 1 chiều lá lật được sử dụng trong đời sống sản xuất
- Dùng cho các dự án nước sạch, công trình xử lý nước thải
- Lắp đặt trong các tòa nhà chung cư cao tầng ( Hệ thống pccc, nước sinh hoạt)
- Dùng trong môi trường hóa chất
Lưu ý khi lắp đặt van 1 chiều lá lật đúng cách

- Lắp van đúng chiều mở của lá van
- Khoảng cách giữa hai mặt bích phải vừa đủ
- Kích thước mặt bích phải đồng nhất với kích thước của van
- Van có thể lắp linh động theo phương thẳng đứng hoặc phương ngang
Lý do nên chọn mua van lá lật tại Van công nghiệp Âu Việt
Đơn vị Van công nghiệp Âu Việt hơn 13 năm hoạt động trong lĩnh vực cung cấp các dòng van công nghiệp đáp ứng cho các dự án thi công, dân cư. Chúng tôi luôn luôn lấy tin tín để đảm bảo chất lượng sản phẩm và cam kết với khách hàng:
- Chế độ bảo hành: Sản phẩm Van một chiều được bảo hành dài hạn, thời gian bảo hành là 6 - 12 tháng. Đối với các sản phẩm lỗi của nhà sản xuất chúng tôi thực hiện chính sách 1 đổi 1 cho mọi khách hàng
- Vận chuyển và giao hàng: Hàng hóa được chúng tôi phân phối và vận chuyển trên phạm vi toàn quốc, giao hàng miễn phí nội thành Hà Nội.
- Hàng van 1 chiều có nguồn gốc, xuất xứ rõ ràng
- Hồ sơ chất lượng: CO/CQ, Catalogue.
Qúy khách có nhu cầu báo giá van 1 chiều lá lật hãy liên hệ trực tiếp với công ty chúng tôi qua HOTLINE: 0962 455 506 hoặc Email: kdauviet3@gmail.com để có báo giá tốt nhất.